
工礦信息
|
MQ22-250/63氣動錨索張拉機具使用說明書標簽:關注:1442 ℃<發布時間:2014-10-18
MQ22-250/63氣動錨索張拉機具適用于 GB/T5224-2003 規定的Φ21.6/1860 級高強度低松弛鋼絞線的錨固。使用時外露鋼絞線的長度應大于 13mm。
目 錄
1、概述................................................................................... 2
2、結構特征和工作原理 ............................................................ 2
3、技術特性........................................................................... 5
4、使用、操作....................................................................... 5
5、使用注意事項..................................................................... 6
6、安全警示........................................................................... 6
7、故障分析與排除.................................................................. 7
8、維護保養........................................................................... 7
9、包裝、運輸、貯存.............................................................. 8
10、開箱及檢查..................................................................... 8
11、售后服務......................................................................... 8
附錄一 安標受控件明細表 ...................................................... 9
附錄二 附件及專用工具明細表................................................... 9
附錄三 易損件明細表 .............................................. 9
提醒用戶特別注意:
1.使用前請認真閱讀使用說明書!
2.初次接入油管使用時,應反復打壓幾個循環排空油管內的空氣,檢查儲油筒
內的油量,并及時補充液壓油!
3.請使用 46#、32#液壓油,使用其他型號的油脂會影響使用效果!
本說明書是根據 GB/9969.1-1998 的規定,參照該產品企業標準制定的。本說明書適用于
本公司生產的 MQ18-250/63 型、MQ19-250/63 型與 MQ22-250/63 型礦用錨索張拉機具。
![]() MQ22-250/63氣動錨索張拉機具 1、概述
1.1 特點
本產品具有:體積小、重量輕、攜帶方便、操作簡單、使用安全等特點。
1.2 用途
本產品是煤礦用錨固預應力錨索的必備機具。
本產品分別適用于 GB/T5224-2003 規定的Φ21.6/1860 級高強度低松弛鋼絞線的錨固。
使用時外露鋼絞線的長度應大于 13mm。
1.3 型號
![]()
2、結構特征和工作原理
2.1 氣動油泵
氣動油泵(圖 2)主要由換向閥、力值指示表、油箱、吸油閥、柱塞、高壓溢流閥、活塞、氣動換向閥、氣缸等組成。在泵體內部設有吸、排油閥等。
氣動油泵的特點是有單柱塞做功。進氣量大,換向速度快,排油量大。能在短時間內達到規定壓力,這樣既提高了效率,又減少了工作阻力。詳見液壓原理圖(圖 3)。
使用前先檢查各接頭是否安裝可靠,此時換向閥手柄應在中間位置。拔下油堵后,禁止扳動換向手柄,以防漏油。連接高壓軟管總成和氣動泵,接通氣源,扳動換向閥手柄,在 F1
位置時,P1 出油,P2 回油;在 F2 位置時,P2 出油,P1 回油;在 F0 位置時,油泵卸荷。氣動泵在出廠時設定高壓溢流為 63MPa,特殊用戶可根據需要自己調整泵的溢流壓力,順時針調節時,溢流壓力增大。
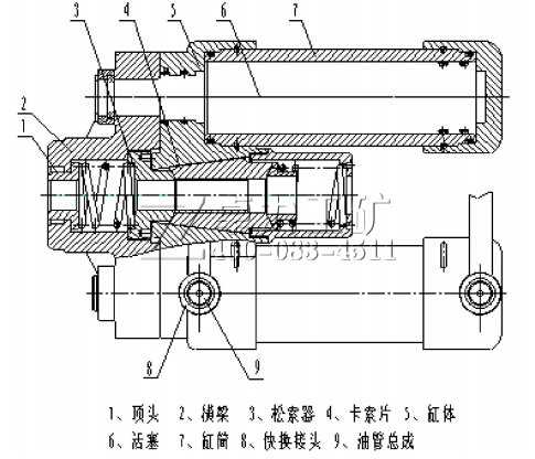
2.2 錨索張拉千斤頂
錨索張拉千斤頂(圖 1)主要由頂頭、橫梁、松索器、卡索片、缸體、活塞、缸筒、快換接頭、油管等組成。在活塞內部設有張緊錨索的卡索片。張拉千斤頂的油缸是一雙作用油缸,當液壓油從快換接頭 P1 進入油缸時,活塞伸出,卡索片自動夾緊錨索,張拉開始;當液壓油從快換接頭 P2 進入油缸時,活塞退回,卡索片自動張開,張拉結束。
本產品采用雙缸張拉千斤頂(圖一)配以氣動油泵(圖二),用快換接頭連接油管。適用于煤礦井下特殊的條件和環境。
使用時,先操作泵讓千斤頂回位再把手柄扳到中間位置,然后將錨索穿入張拉千斤頂卡索片孔內,操作油泵手柄到 F1 或者 F0 位置,使張拉千斤頂活塞向前移動,錨索自動張緊,達到需要壓力時,扳動油泵的換向手柄到相反方向,油泵換向,油缸退回到起始位置時,張拉千斤頂自動松開,一個工作循環結束。
![]() 圖 1 礦用錨索張拉機具結構圖 ![]() 圖 2 氣動錨索張拉機具氣動泵結構圖 ![]() 圖 3 氣動錨索張拉機具氣動泵液壓原理圖
3、技術特性
礦用錨索張拉機具的基本性能參數應符合表 1 的規定
表 1 型號性能參數 MQ22-250/63
液壓系統額定壓力,MPa 63
額定張拉力,kN 250
張拉行程,mm 150
適應鋼絞線直徑,mm 21.6
張拉力指示表類型 指針式
張拉力指示表量程,kN 0-320 kN
張拉力值滿量程準確度偏差 ±3%
張拉千斤頂機重,kg 18
液壓系統額定流量,L/min >0.9
中心孔徑,mm 24
工作氣壓,MPa 0.4 0.5 0.63
液壓系統工作壓力,MPa >50 >60 >75
耗氣量,L/min 230 300 500
活塞往復次數,次/min 120 150 240
噪聲聲功率級,dB(A) <112
噪聲聲壓率級,dB(A) <95
油箱有效容積,L 4
泵站機重(不含工作介質),kg 24
產品中使用的指針式力值指示表能夠直接顯示張拉力示值及油泵壓力值。
4、使用、操作
4.1 檢查油量
擰開氣動雙速換向油泵前端蓋上的加油堵,檢查油量。如果油不滿,應及時補充。(應加入 L-HM32#抗磨液壓油)
4.2 工作過程
首先將油泵換向卸荷手柄扳到 F0 位置,再取出油泵、錨索張拉器及快換接頭堵頭,然后將雙速換向油泵、錨索張拉器用高壓軟管總成連接起來。將高壓軟管總成的接頭插入快換
接頭上,插入 U 型銷。檢查連接可靠后,接通氣源,扳動換向手柄到 F1 或 F2 位置。觀察錨索張拉器油缸中的活塞是否伸出。這時把換向卸荷手柄換到另一位置,油泵換向活塞縮回。
初次使用可反復幾次,以便排出系統中混入的空氣。然后檢查是否有漏油和其它異常現象,當檢查無誤后,將換向卸荷手柄扳向一側,接通氣源,張拉力逐漸升高。當張拉力達到 250kN
時達到額定張拉力。
使用過程中,錨索張拉千斤頂應與鋼絞線保持同一軸線。一次張拉行程為 150mm,超過時應多次張拉。不允許用高壓軟管總成牽拉錨索張拉機和油泵。現場使用時,應盡量不要拆
裝快換接頭,以防污染液壓系統。錨索張拉器 45°范圍內嚴禁站人,以防發生事故。
5、使用注意事項
5.1 本產品應使用 L-HM32#或 46#抗磨液壓油。
5.2 連接管路時,油管接頭和快換接頭上不能有影響油質的塵埃。取下快換接頭時,要先檢查換向卸荷手柄是否在中間位置。不能帶壓強行取下管子,以免發生危險。
5.3 油管接頭、快換接頭、高壓軟管總成都是承受高壓的部件,因此要保護好,不能碰壞和砸傷,也不能用扳手扳接頭上的扣壓管,以防扣壓部分松動而影響密封和正常工作。
5.4 系統的額定張拉力為 250kN。為提高力值指示表的使用壽命,使用時一般不要超過 250kN。
5.5 運輸或攜帶時,需要取下高壓軟管總成,檢查換向卸荷手柄是否在中間位置,然后取出 U型銷,拔下快換接頭,此時油管會漏油,應妥善處理。
5.6 應定期用干凈的煤油清洗油泵、油缸、接頭及管路,并及時更換液壓油,以延長產品的使用壽命和保證正常工作。
5.7 氣源壓力過低時,會造成氣缸運行速度過慢或氣缸運動停止,卸載后可自動恢復正常,屬正常現象。當送氣后若遇到氣缸不動作,按動進氣管附近的復位閥,即能恢復正常。
6、安全警示
6.1 本機以液壓為動力,使用時,供氣氣壓不得超過 0.63Mpa,工作壓力不得超過 63MPa,即不應超過產品規定的張拉力值;停機時應可靠地關閉進壓閥門,防止千斤頂自動開啟,以免發生意外事故。
6.2 本機連接的液壓軟管應符合煤炭行業標準的規定,應使用具有礦用產品安全標志準用證的液壓軟管。液壓軟管與本機的連接應牢固、可靠,嚴防接頭突然松脫或軟管突然爆裂造成人員傷亡事故。
6.3 氣動錨索張拉機具的噪聲聲壓級可能達到 95dB(A)應重視噪聲對人體的危害,應盡量選擇噪聲相對較低的產品。為符合《煤礦安全規程》中噪聲防護的規定,使用錨索張拉機具時,
應嚴格控制在井下工作面的開機作業時間。
6.4 本機在張拉頂板錨索作業時,要隨時注意觀察頂板狀況,防止頂板突然局部冒落或碎石砸傷操作人員。
6.5 使用本機張拉錨索過程中,操作人員要注意張拉力調整適當,并在工作中集中精力,防止千斤頂突然滑脫造成意外傷人事故。
6.6 本機液壓系統的工作介質采用礦物油,工作油溫不得超過 65℃.為防止因使用礦物油引起火災,嚴禁液壓系統在滲漏狀態下工作;對泄漏在井下工作場所的礦物油,應及時清理或掩埋。
6.7 本機液壓系統工作壓力高達 63MPa,為防止意外傷人事故,拆裝任何液壓件時,均應在油泵停機并使液壓件卸壓后進行。
6.8 本產品為錨索張拉預警的專用機具,張拉力數值的準確性影響錨索的安裝效果。本機的力值指示表須法定機允許的計量儀表制造單位生產,不得隨意更換;應按規定對力值指示表進行定期檢定,不得使用不符合要求的力值指示表。
6.9 使用時,供氣氣壓不得超過 0.63Mpa!
6.10 溢流閥工作壓力出廠時已調定,用戶不得隨意調節!
7、故障分析與排除
![]()
8、維護保養
8.1 張拉機具長期不用時應在井上貯存。
8.2 不用時,各連接部位應蓋上防塵帽。
8.3 本產品使用的力值指示表應按照規定進行檢定,每年一次。
9、包裝、運輸、貯存
9.1 包裝
產品裝箱運送。包裝應牢固可靠,并采取防潮措施,包裝箱上應有“小心輕放”等標志。
9.2 運輸
包裝后的張拉機具在避免雨雪直接淋襲的條件下,可用于各種運輸方式。
9.3 貯存
產品在存貯時應放在空氣干燥通風的地方,防止受潮和雨淋以及其它人為的損壞。
10、開箱及檢查
10.1 產品開箱時,應檢查隨機附件是否齊全。
a)產品合格證;
b)產品使用說明書;
c)隨機裝箱單。
10.2 開箱后應對照裝箱單是否與物品名稱、數量相符。
10.3 開箱后應檢查產品在運輸、貯存過程中有無碰撞損壞。
11、售后服務
本廠產品如因本廠原因出現質量問題,一月內包換。一年內保修。
附錄一 安標受控件明細表
序號 圖 號 名 稱 型號 生產廠家 安標號 備注
1 KJRB2-6
二層鋼絲編織液
壓支架膠管總成
KJRB
棗莊天一實業有
限公司
MEE050019 2 根
2 —— 力值指示表 —— 徐州彭城儀表廠 —— 1 塊
附錄二 附件及專用工具明細表
序號 名 稱 規格型號 備 注
1 尖嘴鉗 200mm
2 呆頭扳手 22mm/24mm
3 內六方 8
4 螺絲刀 150mm
附錄三 易損件明細表
錨索張拉千斤頂易損件
序號 名 稱 規格型號 單位 數量 備 注
1 后端蓋 件 2 MS22-00-07
2 密封墊 φ22*φ14*1.5 件 8
3 油管 件 2 MS22-00-17
4 鉸接螺栓 φ25*43 件 2 MS22-00-18
5 夾索片 件 1 MS-00-11
6 快換接頭 φ30*65 件 2 MS22-00-20
7 密封件 套 1
氣動油泵易損件
序號 名 稱 規格型號 單位 數量 備 注
1 進氣管接頭 φ30*48 件 1 QD-00-15.1
2 密封墊 φ26*φ2*3 件 2
3 球閥 DN-15 件 1
續 表
序號 名 稱 規格型號 單位 數量 備 注
4 對絲 24 六角(φ28)*37 件 1 QD-00-15.3
5 組合閥墊 66*72*δ0.5 件 1 ZH-00-03
6 溢流總成 套 1 YL-00-00
7 通用換向閥總成 套 1 TH-00-00
8 接頭 φ30*48 件 2 ZH-00-03
9 箱體總成 套 1 XT-00-00
10 下端蓋 φ170 件 1 BT-00-02
11 上端蓋 φ170 件 1 BT-00-04
12 柱塞 φ30*121 件 1 BT-00-03
13 氣缸筒 件 1 BT-00-06
14 整體活塞 TDUO P 件 1
15 閥座 φ28*13 件 2 GZ-00-01
16 閥套 φ28*19 件 2 GZ-00-02
17 閥芯 φ10*31 件 2 GZ-00-03
18 換向閥總成 套 1 HX-00-00
19 支架總成 套 1 ZJ-00-00
20 消聲器 QX-16*1.5 件 1
21 油封 UN010 件 1
22 空氣過濾器 QAF-4000-04D 件 1
23 空氣濾清器 TYPE-QUQ1 件 1
24 球閥 件 1
25 密封件 套 1
26 彈簧 套 1
27 密封墊 φ12*φ5*1.5 件 6
【打印本頁】
|